This is an old revision of the document!
Table of Contents
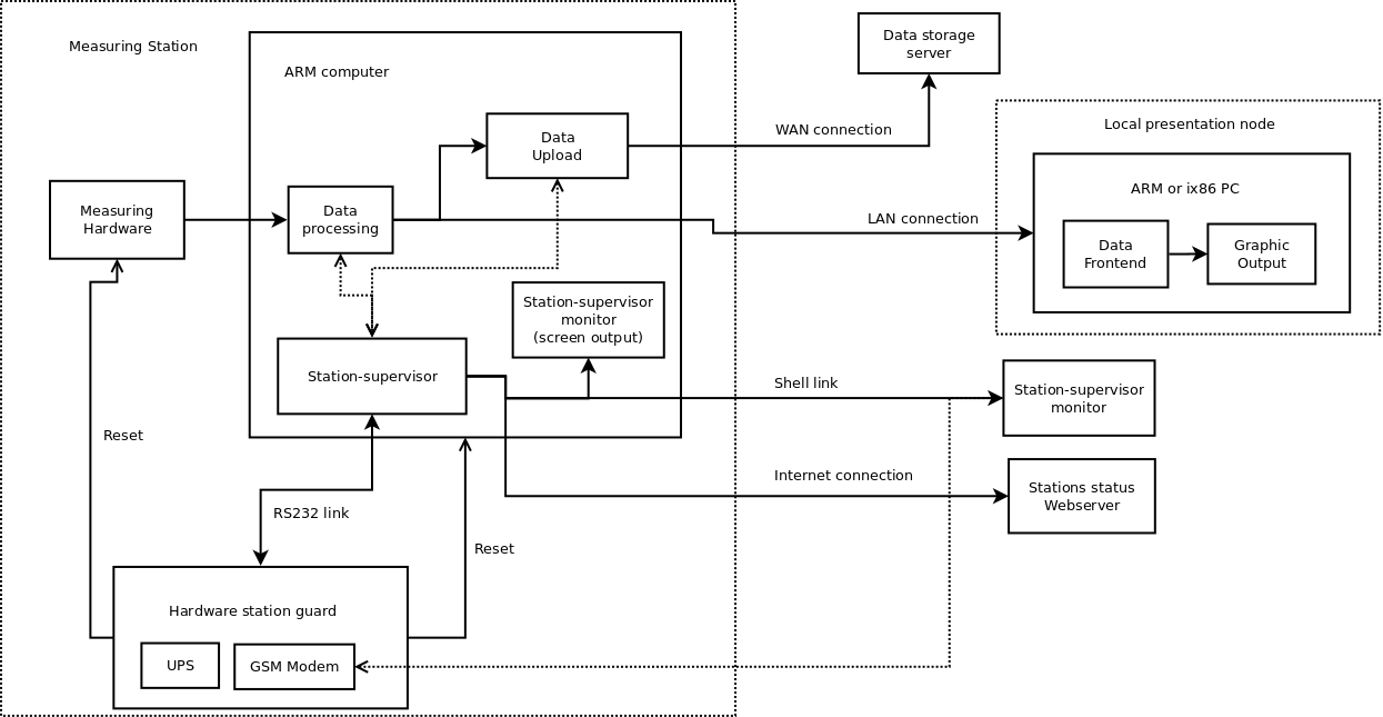
Station Supervisor
Station Supervisor is a bundle of tools and scripts for remote control of station and supervising of station health. These tools run on the station side. There are also html page for displaying station health and last measured data. This webpage should be used for remote commands as well (for instance force kill or restart some process or reboot the station). The measurement station are different in types (for instance radio detection station, video detection station, weather station).
Information Outputs
Error outputs
List of possible error outputs
- Remote data storage server in inaccessible
- Data storage capacity on station is near to limit.
- Some detectors are out of operation
- Time synchronization disfunction
Service outputs
Service outputs should be displayed on station screen or serial (RS232 console). Displayig application (ssmon) should use minimal terminal graphics.
List of basic service outputs
- Time synchonisation quality measurement (NTPd and GPSd outputs)
- System load
- System temperatures
Service interface
Service interface software should modify some station parameters by download configuration files from data server.

